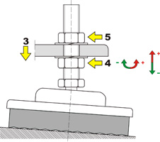
To optimize the selection of a vibration isolator one should consider:
- device’s full mass
- amount of points of support
- load concentration on a point of support
U type plate vibration isolators selection and construction data tables.
![]() |
| Type and size | Axial load range [kg] | Dimensions [mm] | Mass 1 pc. [kg] | |||
|---|---|---|---|---|---|---|
| D | h* | M** | L | |||
| U – 4 | 10 – 100 | 50 | 34 | M10 | 64 | 0,25 |
| U – 8 | 100 – 300 | 90 | 42 | M12 | 64 | 0,55 |
| U – 12 | 300 – 800 | 130 | 65 | M16 | 90 | 1,40 |
** possibility of manufacturing a screw with a different thread M and length L.
Vibration isolator’s marking:
Plate vibration isolator U-XX
Plate vibration isolator U-12 pcs.
U – type
XX – vibration isolator’s size (4-12)
Exemplary order:
Plate vibration isolator U-4 pcs.











